愛佩告訴您IP防水等級的詳細劃分
IP防水等級詳細劃分如下:
以下防水等級參考標準IEC 60529、GB4208、GB/T10485-2007、DIN40050-9、ISO20653、
ISO16750等國際適用標準:
1.范圍
防水試驗包括第二伴特征數字為1至8,即防護等級代碼為IPX1至IPX8
2.各種等級的防水試驗內容。
(1)IPX1
方法名稱:垂直滴水試驗
試驗設備:滴水試驗裝置及其試驗方法
試樣放置:按試樣正常工作位置擺放在以1r/min的旋轉樣品臺上,樣品頂部至滴水口的距離不大于200mm
試驗條件:滴水量為1.0+0.5mm/min
試驗持續:10min
(2) IPX2
方法名稱:傾斜15°滴水試驗
試驗設備:滴水試驗裝置及其試驗方法
試樣放置:使試樣的一個與垂線成15°角,樣品頂部至滴水口的距離不大于200mm,每試完一個面后,換另一個面,共四次.
試驗條件:滴水量為3.0+0.5mm/min
試驗持續:4×2.5min 共10min

(3) IPX3
方法名稱:淋雨試驗
a.擺管式淋水試驗
試驗設備:擺管式淋水濺水試驗
試樣放置:選擇適當半徑的擺管,使樣品臺面高度處于擺管直徑位置上,將試樣放在樣臺上,使其頂部到樣品噴水口的距離不大于200mm ,樣品臺不旋轉。
試驗條件:水流量按擺管的噴水孔數計算,每孔為0.07 L/min 。淋水時,擺管中點兩邊各60°弧段內的噴水孔的噴水噴向樣品。被試樣品放在擺管半圓中心。擺管沿垂線兩邊各擺動60°,共120°。每次擺動(2×120°) 約4s 。
試驗壓力:400kPa
試驗時間:連續淋水10 min;試驗5min后樣品旋轉90°
b. 噴頭式淋水試驗
試驗設備:手持式淋水濺水試驗裝置,
試樣放置:使試驗頂部到手持噴頭噴水口的平行距離在300mm至500mm 之間
試驗條件:試驗時應安裝帶平衡重物的擋板,水流量為10L/min
試驗時間:按被檢樣品外殼表面積計算,每平方米為1 min(不包括安裝面積),最少5 min 。
(4)IPX4
方法名稱:濺水試驗;
a.擺管式濺水試驗
試驗設備和試樣放置:選擇適當半徑的擺管,使樣品臺面高度處于擺管直徑位置上,將試樣放在樣臺上,使其頂部到樣品噴水口的距離不大于200mm ,樣品臺不旋轉。
試驗條件: 水流量按擺管的噴水孔數計算,每孔為0.07 L/min ; 噴水面積為擺管中點兩邊各90°弧段內噴水孔的噴水噴向樣品。被試樣品放在擺管半圓中心。擺管沿垂線兩邊各擺動180°,共約360°。每次擺動(2×360°) 約12s 。
試驗時間:與上述第(3)條IPX3 之a 款均相同 (即10 min ) 。
b.噴頭式濺水試驗
試驗設備:手持式淋水濺水試驗裝置,
試樣放置:設備上安裝帶平衡重物的擋板應拆去,使試驗頂部到手持噴頭噴水口的平行距離在300mm 至500mm 之間
試驗條件:試驗時應安裝帶平衡重物的擋板,水流量為10L/min
試驗時間: 即按被檢樣品外殼表面積計算,每平方米為1min(不包括安裝面積)最少5min 。
(4)(4) IPX4K
試驗名稱:加壓擺管淋雨試驗
試驗設備:擺管式淋雨試驗
試樣放置:選擇適當半徑的擺管,使樣品臺面高度處于擺管直徑位置上,將試樣放在樣臺上,使其頂部到樣品噴水口的距離不大于200mm ,樣品臺不旋轉。
試驗條件:水流量按擺管的噴水孔數計算,每孔為0.6±0.5 L/min 。噴水面積為擺管中點兩邊各90°弧段內噴水孔的噴水噴向樣品。被試樣品放在擺管半圓中心。擺管沿垂線兩邊各擺動180°,共約360°。每次擺動(2×360°) 約12s 。
試驗壓力:400kPa
試驗時間:試驗5min后樣品旋轉90°

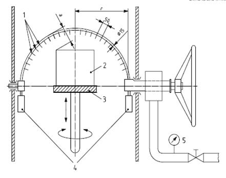
其中:
1 直徑D的孔;2 受試樣品;3 轉盤;4平衡量; 5流量指示器和壓力計;r200,400,600或800;按受試樣品尺寸選擇最小的半徑; D = 0.4防水防護等級3和4;D = 0.8防水防護等級4K; 受試樣品的速度(1~3)min-1。
圖4 – 灑水(灑水管)理體制試驗裝置,防水防護等級3、4和4K

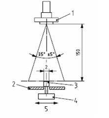
其中:
1 可移動置;2 噴淋管;3 軟管;4 流量指示器和壓力計;5 旋塞閥;6 受試樣品;7 平衡量;8 裝置的孔徑;
注:噴淋管有121個直徑為0.5mm的孔;
-- 中心1個孔
-- 核心區2層(每層12個孔,30度分布)
-- 外圈4圈(每圈24孔,15度分布);
-- 可移動的罩蓋。
噴淋管應用銅鋅合金(黃銅)制成。
圖5– 手持灑水(灑水管)試驗裝置,防水防護等級3和4
(5)IPX5
方法名稱:噴水試驗
試驗設備:噴嘴的噴水口內徑為6.3mm
試驗條件:使試驗樣品至噴水口相距為2.5~3m ,水流量為12.5L/min (750L/h);
試驗時間:按被檢樣品外殼表面積計算,每平方米為1min( 不包括安裝面積)最少3min 。
(6)IPX6
方法名稱:強烈噴水試驗;
試驗設備:噴嘴的噴水口內徑為12.5 mm ;
試驗條件:使試驗樣品至噴水口相距為2.5~3m,水流量為100L/min(6000L/h);
試驗時間:按被檢樣品外殼表面積計算,每平方米為1min(不包括安裝面積)最少3min 。

D=6.3mm 防水防護等級5和6K;
D=12.5mm 防水防護等級6。
圖6—噴嘴高速水流試驗裝置,防水防護等級5、6和6K
(7)IPX7
方法名稱:短時浸水試驗;
試驗設備:浸水箱。
試驗條件:其尺寸應使試樣放進浸水箱后,樣品底部到水面的距離至少為1m 。試樣頂部到水面距
離至少為0.15 m 。試驗時間:30min 。
(8)IPX8
方法名稱: 持續潛水試驗;
試驗設備試驗條件和試驗時間: 由供需(買賣)雙方商定.其嚴酷程度應比IPX7 高。
(9) IPX9K
方法名稱:高壓噴射試驗
試驗設備:噴嘴的噴水口內徑為12.5 mm ;
試驗條件:噴水角度:0°,30°,60°,90°(4個位置);噴水孔數:4 個;樣品臺轉速:5 ±1r.p.m;距離為100 ~150mm,每個位置30 秒;流量為14~16 L/ min,噴水壓力8000~
10000kPa ,水溫要求80±5℃
試驗時間:。每個位置30 秒×4 共120秒

其中:
1 鼓風噴射; 壓力(1005)bar; 流量(151)l/min;2 蓋板;
3 撞擊盤2×30mm(2mm行程);4 減震器; 5 工作寬度。
圖7—按防水防護9K等級用于防護高壓/噴射清選設備的水噴射撞擊力測量

其中:
1 鼓風噴射噴嘴;2 受試樣品;3 轉臺;4 轉軸; 5 參考點(0°,30°,60°,90°)對受試樣品柱面分面;6 位置1;7 位置2;8 位置3;9 位置4;
圖8 防水防護9K等級用于防護高壓/噴射清洗試驗裝置
同類文章排行
- 福建詔安銘杰新材料有限公司經過多家綜合對比和溝通,最終下單三臺設備
- 氙燈耐候加速老化試驗箱有哪些必要了解的知識
- 感謝寧波耀泰電器有限公司再次回購紫外線耐候老化試驗箱8支燈管
- 合作共贏,攜手前行——感謝北京思凌科半導體技術有限公司的信任與支持
- 青島琦恩體育用品有限公司喜購廣東愛佩耐黃變試驗箱1臺
- 廣東愛佩試驗設備有限公司春節放假通知
- 恭喜成都維特精密機械有限公司訂購我司熱風循環烘箱干燥機
- 好消息!珠海眾銳科技有限公司經過多方對比后選擇愛佩科技2臺高低溫試驗箱
- 感謝四維能源(武漢)科技有限公司選購我司一臺鹽水噴霧試驗機
- 恭喜湘南學院化學與環境科學學院選擇愛佩品牌高低溫試驗箱
最新資訊文章
您的瀏覽歷史





